金狗卫士“数字哨兵”已到岗!助力一线防疫管控
新冠疫情造成困扰已经长达两年多时间,随着病毒变异株的不断出现,各地政府的严格管控,还是无法阻止疫情在国内的反复,多个地区陆续出现了疫情爆发的情况,因为重点场所目前还是以人工核验为主,不仅造成工作人员工作量大,效率不高,而且工作人员也处于高危险的工作环境中,对于疫情防控依然严峻,所以通过AI防控平台和人脸识别测温健康码一体机辅助现场人员,既可以提高防疫效率,也能降低二次交叉感染的风险,可以有效的做到科学防控。
可与国康码、苏康码、随申码及其他各地方健康码平台相对接,实现“证、码、脸”三合一,四码联查,保证人脸精准测温,实时筛查通行人员健康情况。
宽动态高清人脸识别摄像头可选配支持4G全网通,便携手持设备支持wifi和4G全网通,相互结合适用各种场所,且适应强光逆光弱光等苛刻环境,具有识别速度快、准确率高等特点。
这是一个简约简单的通用模板,可以使用在多个行业或领域。
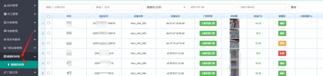
记录可上传到云平台或第三方平台,防疫大数据平台可视化实时展示、并统计分析。
后台记录健康码核验的结果。绿码通行,黄码和红码报警。
途径中高风险区的在进行健康码核验或刷身份证时,会推送预警短信。
微信小程序访客预约,审核时可以根据访客身份信息调取健康码和行程风险区。
产品特性
●采用离线人脸识别技术,识别率99.7%
●支持人脸识别白名单通行、黑名单预警、人过留影、数据实时上传平台等功能
●支持识别人员是否佩戴口罩检测,实现定向人性化语音提示,加强防范意识
●支持选装IC/ID读卡器,实现刷卡通行
●支持双目活体检测 ,防止照片攻击。
●自助人脸采集(小程序/APP),物业管理处可批量导入名单,名单管理更加省力省时
●支持外接高精度红外体温检测模块,实现非接触式自助测量人体体温,降低交叉感染风险
●支持体温异常语音报警,并阻止开门
●自定义语音,实现个性化语音播报
●支持图片和视频广告播放
●支持设备远程升级(设备连网)
●接口开放,支持二次开发对接
产品特性
●支持选装IC/ID读卡器,实现刷卡通行
●支持外接高精度红外体温检测模块,实现非接触式自助测量人体体温,降低交叉感染风险
●支持体温异常语音报警,并阻止开门
●自定义语音,实现个性化语音播报
●支持设备远程升级(设备连网)
●接口开放,支持二次开发对接
●支持NFC读取身份证
●支持4G全网通
开通24小时售后服务电话,苏州市内均免费安装调试。
使用该平台如何收费?
相比其他平台,金狗卫士AL防控平台服务费一次性收取,之后不收取任何平台费用,可避免后续不必要的麻烦,如若购置设备超过100台,可免费布置平台。
人脸识别和手持设备可联系客服申请试用。此款产品拥有较高性价比和安装调试方便等特点,欢迎电话咨询详情。(客服电话:15162630657)





























